News Updates
NEWS CENTER
Related News
There is currently no data available
Let alone fourteen incense, Wang Shouyi has already registered from "eleven incense" to "thirty-nine incense"
Release Time:
2022-09-13
In the early morning of September 8, Apple held a autumn new product conference, and released the color and price of the iPhone14 series. It is understood that the iPhone 14, iPhone 14 Pro and 14 Pro Max three models will start at the same price as the previous generation. After the release of the iPhone13 last year, Wang Shouyi thirteen Xiang also followed the fire. In Wang Shouyi's exclusive shop, many netizens asked whether thirteen was fragrant in the end. "Fourteen incense or thirteen incense?" The App shows that the trademark "fourteen fragrant" has been successfully registered by Zhumadian Wang Shouyi thirteen Fragrant Condiment Group Co., LTD. The application time was 2002, and the international classification is convenience food.
In the early morning of September 8, Apple held a autumn new product conference, and released the color and price of the iPhone14 series. It is understood that the iPhone 14, iPhone 14 Pro and 14 Pro Max three models will start at the same price as the previous generation.
After the release of the iPhone13 last year, Wang Shouyi thirteen Xiang also followed the fire. In Wang Shouyi's exclusive shop, many netizens asked whether thirteen was fragrant in the end. "Fourteen incense or thirteen incense?" In addition, in the official website of the Trademark Office, Wang Shouyi even registered from "eleven incense" to "thirty-nine incense", which was joked by netizens to "snipe Apple's iPhone series".

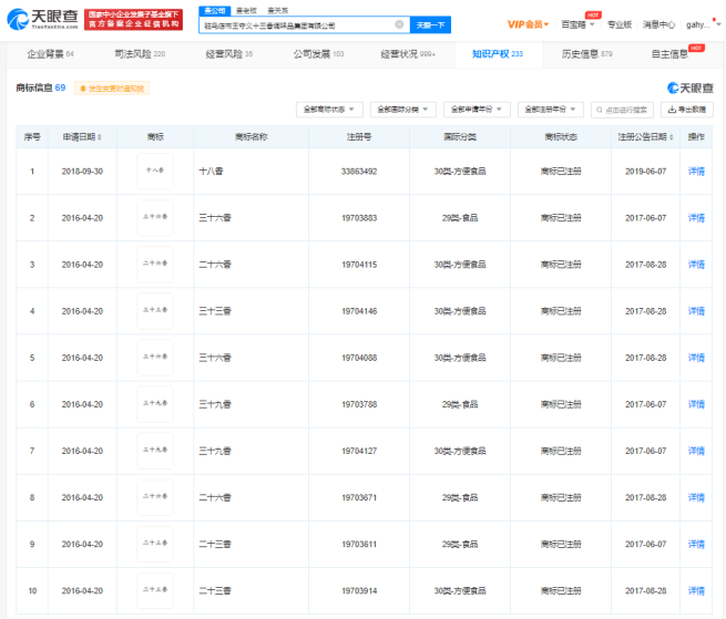
According to the App, the "fourteen fragrant" trademark has been successfully registered by Zhumadian Wang Shouyi thirteen fragrant Condiment Group Co., LTD., the application time was 2002, and the international classification is convenience food. Up to now, Wang Shouyi Company has successfully registered the trademark of "twelve incense" to "eighteen incense", as well as the trademark of "twenty-three incense", "twenty-six incense", "thirty-six incense" and "thirty-nine incense", and the international classification is mostly convenience food and food. Wang Shouyi register fourteen incense exactly what is the matter, follow the deep credible look together.


Through the trademark layout, Wang Shouyi thirteen incense not only leaves space for the long-term development of the enterprise, but also maintains the enterprise brand image and enhances brand recognition. In addition, the registration of defense trademarks better avoid the appearance of some similar trademarks, and protect their own brands.

In fact, not only Wang Shouyi, Alibaba, millet, Lao Ganma and many other enterprises have registered a lot of defensive trademarks.
For example, Alibaba has registered "Ali mother", "Uncle Ali", "Grandpa Ali" and "Grandma Ali", which is a living version of the "Ali family".
Millet is more interesting, registered "rice", "red rice", "blue rice", "black rice", "purple rice", "orange rice", "green rice", "yellow rice", "orange rice" and other trademarks, so that some netizens commented, "Rebus is trying to gather seven colors of rice to summon the dragon?"
The old Gan Ma is not far behind, "old Gan dad", "old Gan niang", "old Gan dad", "dry son", "dry daughter", "old aunt"... It can be said that "seven aunts and eight aunts" have been registered all over.
Wuliangye registered the trademarks of "Six grain liquid", "seven grain liquid" and "eight grain liquid". Jingdong is the founder of Liu Qiangdong's name split, respectively for trademark registration protection...
Expertise sharing
What is defensive trademark registration?
The so-called defensive trademark registration refers to the registration and use of the same or similar series of trademarks. Specifically, it is to register a series of trademarks with the same or similar text, pronunciation, and pattern, and protect the trademarks in use or for future use.
Another way to register a defensive trademark is to apply the same trademark to a completely different kind of product or industry to prevent others from using it in a different product or industry. Because there are certain restrictions on the category of goods used in the same trademark, when the product crosses the industry and crosses the category, it must be registered separately.
Deep trusted Reminder:If your products and trademarks are famous, you should adopt a defensive strategy in time, supplement the registration of some similar trademarks, supplement the application scope of the well-known product trademarks, and prevent other enterprises from free-riding or squatting your trademark. It is recommended to ask a professional agency to handle it, because the relevant documents involve professional and legal aspects, and professional people do professional things.
What evidence is not considered trademark use within the meaning of the Trademark Act?
The submission of only the following evidence is not considered to be a trademark use within the meaning of the Trademark Act:
1. Commodity sales contract or service provision agreement, contract;
2. Written testimony;
3. It is difficult to identify physical evidence, audio-visual materials, website information, etc., whether it has been modified;
4. Physical objects and replicas.
More intellectual property information and services
Pay attention to [Shenkexin Intellectual Property] Official subscription number

More deeply credible dynamic news, important data/report/case, etc.
Pay attention to the [Shenkexin Intellectual Property Service Platform] official service number

相关新闻
Telephone:
Telephone:+86-755-82566227、82566717、13751089600
Head Office:13 / F, Building 14, Longhua Science and Technology Innovation Center (Mission Hills), No. 8 Golf Avenue, Guanlan Street, Longhua District, Shenzhen
Head Office:
13 / F, Building 14, Longhua Science and Technology Innovation Center (Mission Hills), No. 8 Golf Avenue, Guanlan Street, Longhua District, Shenzhen
Subsidiary Company:2808, Block B2, Yuexiu Xinghui Junbo, No.18 Tazihu East Road, Jiangan District, Wuhan City, Hubei Province
Subsidiary Company:
2808, Block B2, Yuexiu Xinghui Junbo, No.18 Tazihu East Road, Jiangan District, Wuhan City, Hubei Province

Service Number

Subscription Number
Copyright ©2016 Shenzhen Shenkexin patent Agency Co., LTD All rights reserved | 粤ICP备2021174526号
Copyright ©2016 深圳市深可信专利代理有限公司 版权所有 | 粤ICP备2021174526号 SEO标签
Copyright ©2016 深圳市深可信专利代理有限公司 版权所有